欧洲对伊藤汽油发电机的要求
伊藤汽油发电机是世界上用途广、市场需求量大的配套动力之一。近年来,越来越多的企业开始涉足伊藤汽油发电机制造领域,目前以重庆为代表的中国通机产品生产基地正在形成。现阶段我国生产并出口的通机产品主要有:伊藤汽油发电机、汽油发电机组、柴油发电机组等。
TUV品服务有限公司是专业从事产品检测和认证的第三方认证机构,对机电产品的认证在国内外享有盛名。下面以伊藤汽油发电机为例,介绍一下欧洲对伊藤发电机产品电磁兼容的要求,希望能对国内伊藤发电机产品制造商有所帮助。
所谓电磁兼容,是指伊藤汽油发电机在电磁环境中能正常工作且不对该环境中的任何事物构成不能承受的电磁骚扰的能力。从定义上理解,要从电磁发射(EMI)和电磁抗扰度(EMS)2个方面去分析通机产品的电磁兼容性(EMC)。
1、电磁发射
电磁发射引用的标准为EN55012:2002《车辆、机动船和由火花点火发动机驱动的装置的无线电骚扰特性的限值和测量方法》,即将伊藤汽油发电机处于正常工作位置和高度,以怠速空载的状态下测量其最大骚扰辐射值,测量时天线中心到汽油发电机边缘金属部份的水平距离为(10.0土0.2)m,天线中心离地面的高度为(3.00土0.05)m。
伊藤汽油发电机的无线电骚扰限值分为宽带骚扰限值和窄带骚扰限值。
a、宽带骚扰限值
测量时允许使用准峰值检波器也可以用峰值检波器测量。注意使用仪器的带宽(lkhz、120kHz、1MHz),仅用一种带宽测量即可,实际中常选准峰值检波器和120Hz带宽,在30一1000MHz频率范围内的每一频率测量点上,分别进行水平极化和垂直极化测量。

频率对数图
图一、10.0m法测试限值(宽带骚扰信号)
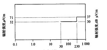
b、窄带骚扰限值
伊藤汽油发电机的窄带骚扰限值如图2所示,该限值适用于峰值或准峰值测量。如果伊藤汽油发电机中不含工作频率大于9khz的电子振荡器,无需进行窄带骚扰测量,即认为符合窄带骚扰限值要求。

频率对数图
圈2、10.0m限值《窄带骚扰伯信号)
图3为伊藤汽油发电机电磁发射测试配置图。
2、电磁抗扰度
电磁抗扰度引用的标准为EN61000/6/1:2001《居住、商业和轻工业环境伊藤抗扰性标准》,同样将伊藤汽油发电机处于正常工作位置和高度,在怠速空载状态下做抗扰性试验。伊藤两个方面要求:

图3、为伊藤汽油发电机电磁发射测试示意图。
1、电放电(基本标准IEC1000/4/2)
空气放电:±8kV;接触放电::±4kV;应用性能准则:B(在试验之后,汽油发电机按预定方式连续工作;在试验期间,允许性能降低,但不允许改变实际工作状态)。

图4、伊藤汽油发电机静电放电测试示意图
2、频电磁场辐射抗扰性(基本标准IEc61000/4/3)
测试频率:80一1000MHz;场强:3V/m;调幅波:80%AM(1khz);应用的性能准则:A(在试验期间和试验之后,汽油发电机应按预定方法连续工作)。

图5、为伊藤汽油发电机射频电磁场辐射抗扰性测试配置图。
根据长期的检测与认证经验,在伊藤汽油发电机的电磁兼容测试中,电磁抗干扰方面碰到的技术问题较少,但电磁发射方面出现的问题较多。这与产品设计结构有关,与关键零部件的选用也密不可分,如伊藤汽油发电机缸体设计、阻尼火花塞和屏蔽帽选用等。
伊藤发电机产品的国际市场潜力很大,国内各制造商通过TUV产品服务有限公司等公司的技术支持,把好质量关,增强产品进入国际市场的实力,相信在不久的将来伊藤发电机产品出口业绩定会再创辉煌!
最新产品
同类文章排行
- 汽油发电机优势出现高温报警的原因
- 如何选购发电机蕴含大大的能量
- 柴油水泵常见故障为何排气管有时滴油
- 汽油和柴油发电机组区别日常启动步骤
- 汽油发电机用途“心脏”如何保养
- 汽油发电机是否省油如何接线安全
- 汽油发电机优势磨合期如何安全度过
- 小型汽油发电机优点柴油发电机特点
- 汽油发电机选购起动前准备检查
- 汽油发电机“烫护秘方”冷却液温度偏高解决
最新资讯文章
您的浏览历史




